ENSTO SL 8.21 - Zacisk Al/Al, 50-240/50-240
Prosper sklep - sprawdzony partner - sklep dla elektryków
Opis
ENSTO SL 8.21 - Zacisk Al/Al, 50-240/50-240


- nadaje się do wykonania połączenia przewodów aluminiowych nie obciążonego naprężeniem mechanicznym
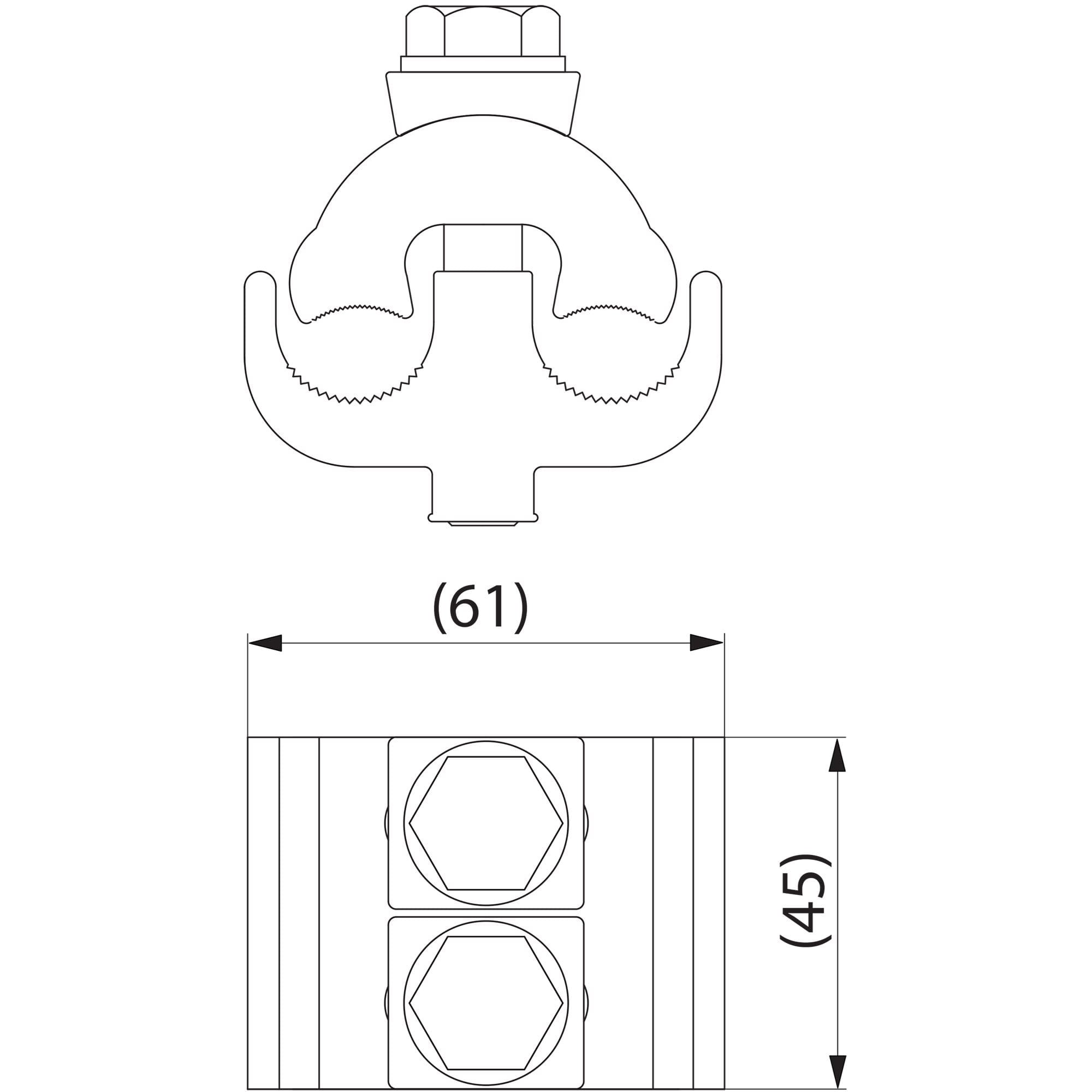
- zaciskany dwoma śrubami M10
- napięcie probiercze z osłoną 4 kV/50 Hz/ 1 min
- moment dokręcenia 44 Nm
- żyła główna Al 50-240
- przewód rozgałęźny Al 50-240
- średnica żyły 7.7-20
- klasa cieplna T1
- osłona z tworzywa sztucznego SP16 (dostępna oddzielnie)
