Wspornik WR-1 50x250 - DELKAR
Prosper sklep - sprawdzony partner - sklep dla elektryków
Opis
Wspornik WR-1 50x250 - DELKAR
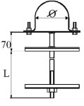
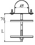
Uchwyt przeznaczony do mocowania rur na słupach ułożonych bez odsadzenia.
- pojedynczy
- bez odsadzenia
| ∅ | L |
| 50 mm | 250 mm |
- okres gwarancji 12 miesięcy (lub dłużej zgodnie z wytycznymi producenta)
- dawny symbol 0-296-000-000-000
- symbol producenta EP-UC-WR1-50X250
KATALOG SYSTEMÓW ODGROMOWYCH DELKAR DO POBRANIA TUTAJ
* Fotografia poglądowa
